Квадратная рамка между двумя бесконечнами проводниками
Автор
Сообщение

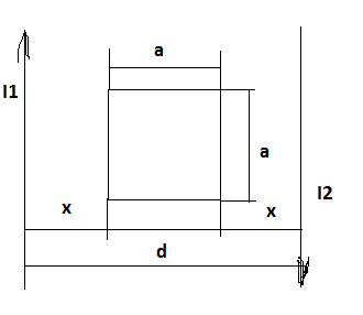
]По проводникам двухпроводной линии идет ток I=2 А, расстояние между осями провода d=8см, определите поток магнитной индукции Ф, пронизывающий квадратную рамку со стороной а=5 см, расположенную в одной плоскости с линией.
___________________________
Так как в условии не сказано на каком расстоянии от проводников расположена рамка, расположила ее по центру.


При подстановке данных и вычислении получается ноль.
Всё так?

